Portable Outboard Engines (2 - 20 hp) BF BF9 BF9.9AK SA BABS-1100001-1200000 RECTIFIER KIT - Big Boys Play Toys

Ref No
Part Number
Description
Serial Range
Qty
Price

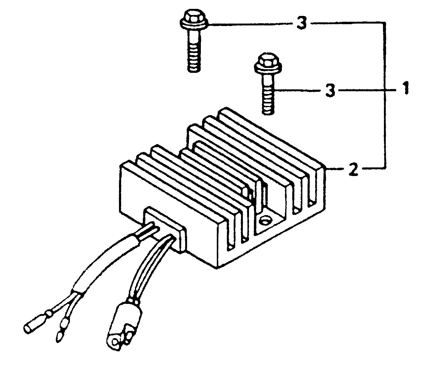
Ref No
1
Part Number
06330-ZV4-600
Description
RECTIFIER KIT (10A) (NOT AVAILABLE)
Serial Range
1000001 - 9999999

Ref No
2
Part Number
31700-ZV4-003
Description
RECTIFIER ASSY. (NOT AVAILABLE)
Serial Range
1000001 - 9999999

Ref No
3
Part Number
95701-06012-02
Description
BOLT, FLANGE (6X12)
Serial Range
1000001 - 9999999
Qty
Price
$2.56